Google tager patent på smartphones med skærm, højttalere og eyetracking

Af : Nastya Bobkova | Opdateret 10.12.2024, 23:21
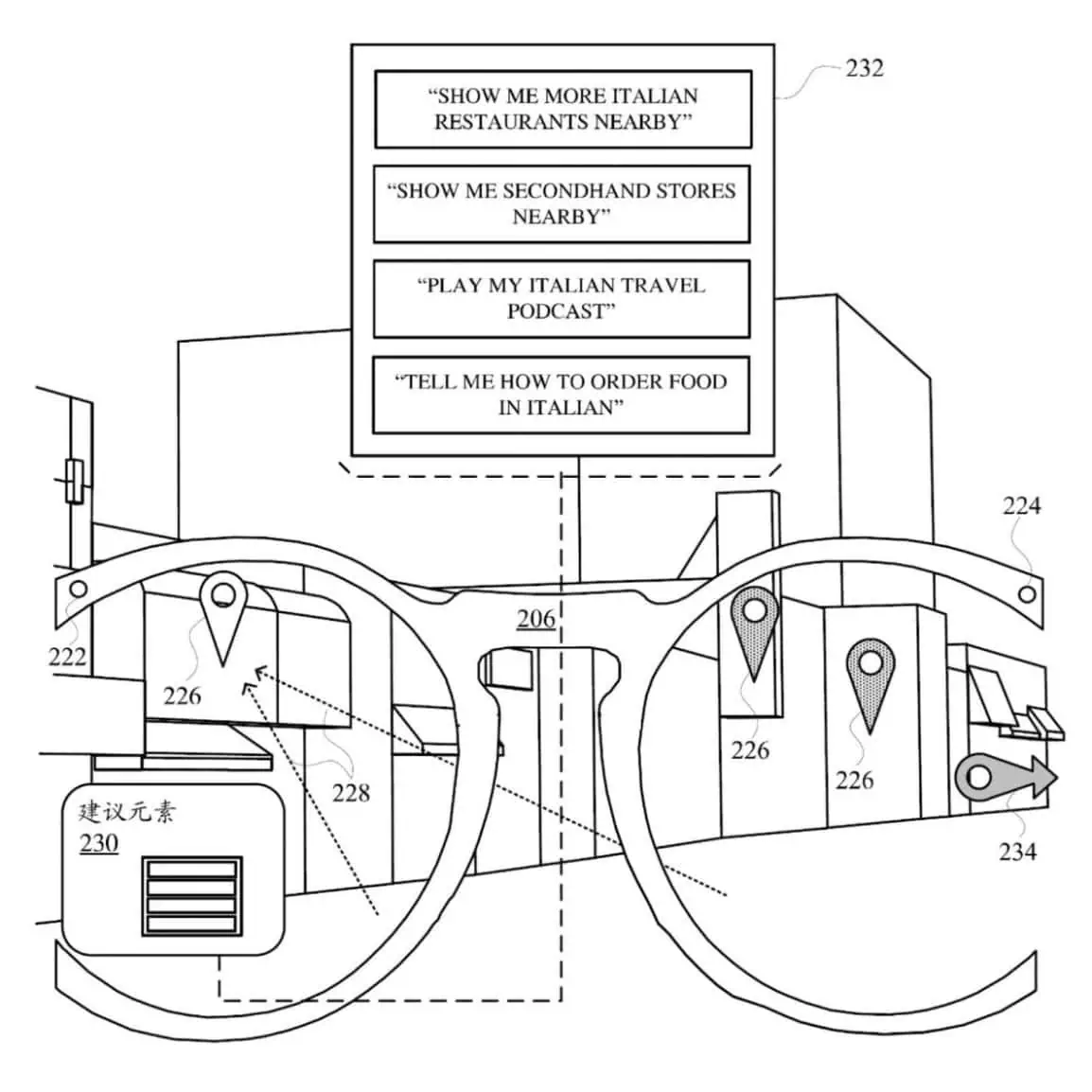
Et kig ind i fremtiden: Hvordan kommer Googles nye smartphones til at se ud? En skitse af fremtidens smarte briller fra Google. Nyhedskilde: Android Headlines

Google er sandsynligvis ved at forberede et nyt forsøg på at implementere smartglasses-projektet, især takket være et nyt patent på briller med indbygget skærm, højttalere og eyetracking-teknologi.

Her er, hvad vi ved

Patentet blev indleveret i Kina gennem den nationale administration for intellektuel ejendomsret CNIPA.

Disse smartbriller skal forbindes til en smartphone for at behandle data, hvilket vil hjælpe med at spare på batteriet.

Ud over en skærm og højttalere er brillerne udstyret med en mikrofon, kameraer og understøtter stemmestyring, tryk og bevægelser.

De bruger også dine lokationsdata til at give tips og navigationsfunktioner.

Selv om der kun er tale om et patent, har teknologien allerede nået det nødvendige niveau for en vellykket implementering af intelligente briller, og det er meget muligt, at sådanne enheder vil komme på markedet i den nærmeste fremtid.

Kilde: Android Headlines